Opis
Tylko u nas ! Media w drodze!
LOKALIZACJA:
Działka znajduje się w willowej dzielnicy Gdańska – Kiełpinie Górnym. Miejsce to wyróżnia się licznymi terenami zielonymi, spacerowo-rowerowymi, jeziorami oraz doskonałą infrastrukturą. Wszystko to sprawia, że wspomniana dzielnica budzi duże zainteresowanie wśród ludzi ceniących sobie spokojne sąsiedztwo a także szybki i łatwy dostęp do centrum Gdańska czy Gdyni, lotniska jak również szkół, przedszkoli i wszelkiego rodzaju sklepów i usług.
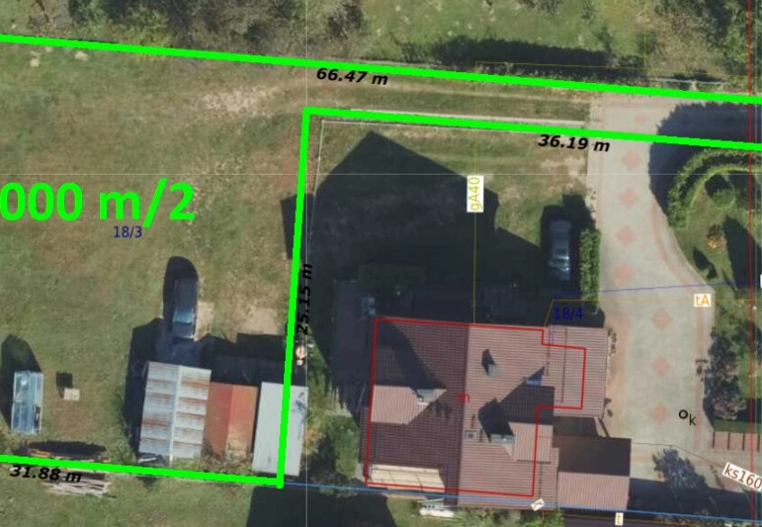
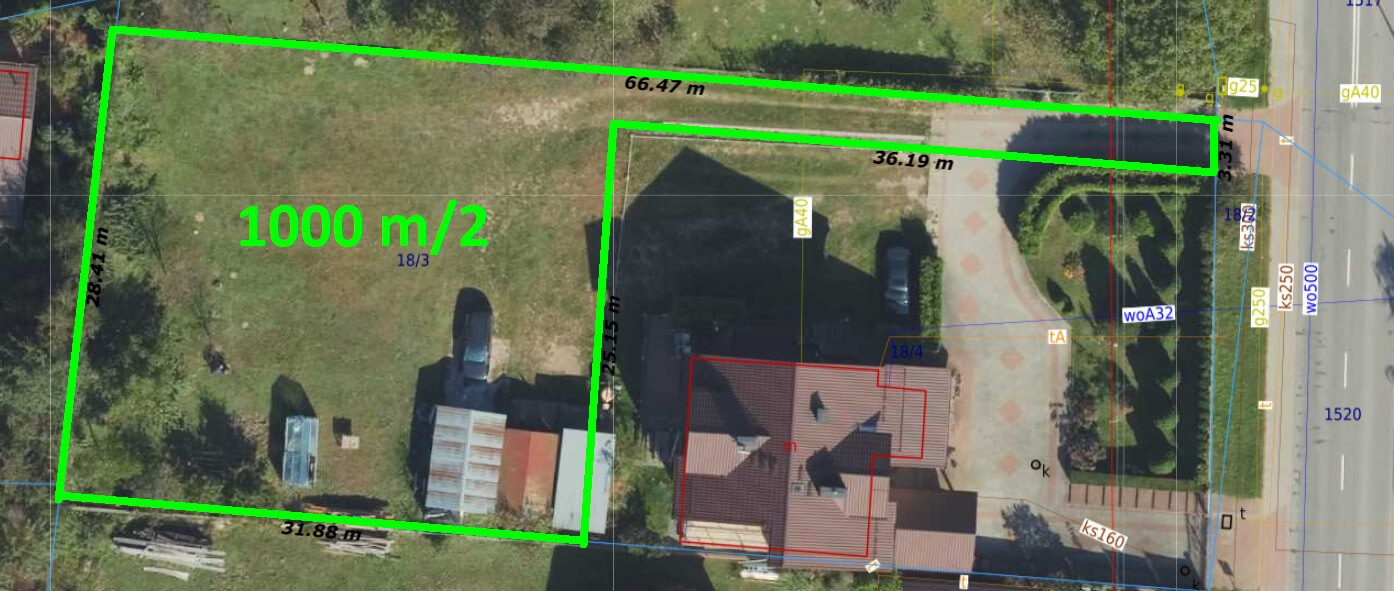
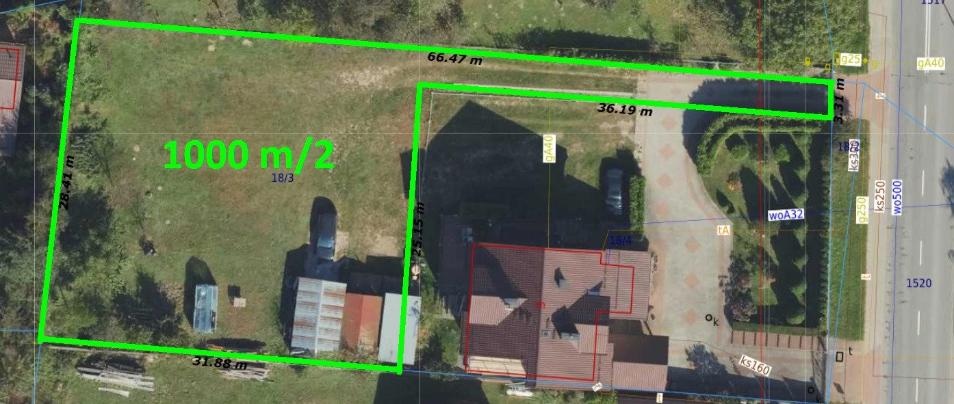
DZIAŁKA:
Budowalna wśród istniejącej już zabudowy jednorodzinnej.
Prąd, woda, gaz , kanalizacja w dordze.
WARUNKI URBANISTYCZNE
1) intensywność zabudowy, minimalna: nie ustala się maksymalna: 0,5
2) minimalny procent powierzchni biologicznie czynnej – 50%
3) maksymalny procent pokrycia działki zabudową – 20 %
4) wielkość działki, minimalna: 1000 m2 maksymalna: nie ustala się
5) inne zasady i warunki podziałów terenu – nie ustala się
ZASADY KSZTAŁTOWANIA ZABUDOWY I KRAJOBRAZU
1) linie zabudowy – nie ustala się
2) wysokość zabudowy, minimalna: nie ustala się maksymalna: 12 m
3) formy zabudowy – nie ustala się
4) kształt dachu – nie ustala się
ZASADY OBSŁUGI W ZAKRESIE INFRASTRUKTURY TECHNICZNEJ
1) dostępność drogowa – dojazd z ulicy z północno – zachodniej strony spoza planu i z ul. Otomińskiej
2) zaopatrzenie w wodę – z sieci wodociągowej
3) odprowadzenie ścieków komunalnych – do kanalizacji sanitarnej
4) odprowadzenie wód opadowych – zagospodarowanie na terenie lub do kanalizacji deszczowej
5) zaopatrzenie w energię elektryczną – z sieci elektroenergetycznej
6) zaopatrzenie w gaz – z sieci gazowej lub gaz bezprzewodowy
7) zaopatrzenie w ciepło – z sieci ciepłowniczej lub z niskoemisyjnych źródeł lokalnych
8) gospodarka odpadami – po segregacji wywóz na składowisko miejskie
Zapraszam na prezentację !














